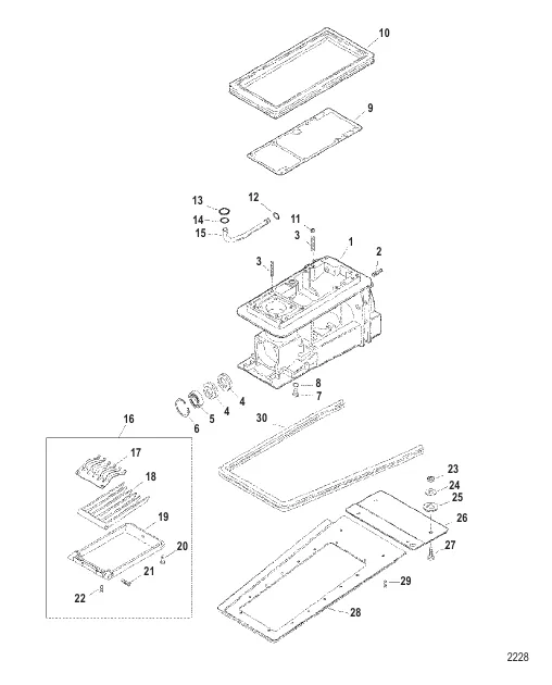
Компоненты корпуса водометного привода [0E379931 THRU 0E423075] - USA - Cat.# 90-881779 ВОДОМЕТНЫЙ ПРИВОД 200 DFI M2 (НАСОС)
№
Описание
-
К-во на
агрегате -
Стоимость
за шт.
1

Уточните дату поставки
-
К-во на агрегате
-
Стоимость за шт.1 424 052 ₽
-
Купить
3

Уточните дату поставки
-
К-во на агрегате
-
Стоимость за шт.1 236 ₽
-
Купить
10

Уточните дату поставки
-
К-во на агрегате
-
Стоимость за шт.16 448 ₽
-
Купить
11

Уточните дату поставки
-
К-во на агрегате
-
Стоимость за шт.566 ₽
-
Купить
12

-
К-во на агрегате
-
Стоимость за шт.264 ₽
-
Купить
14

Уточните дату поставки
-
К-во на агрегате
-
Стоимость за шт.326 ₽
-
Купить
23

Уточните дату поставки
-
К-во на агрегате
-
Стоимость за шт.369 ₽
-
Купить
24

Уточните дату поставки
-
К-во на агрегате
-
Стоимость за шт.1 693 ₽
-
Купить
25

Уточните дату поставки
-
К-во на агрегате
-
Стоимость за шт.827 ₽
-
Купить
30

Уточните дату поставки
-
К-во на агрегате
-
Стоимость за шт.15 704 ₽
-
Купить