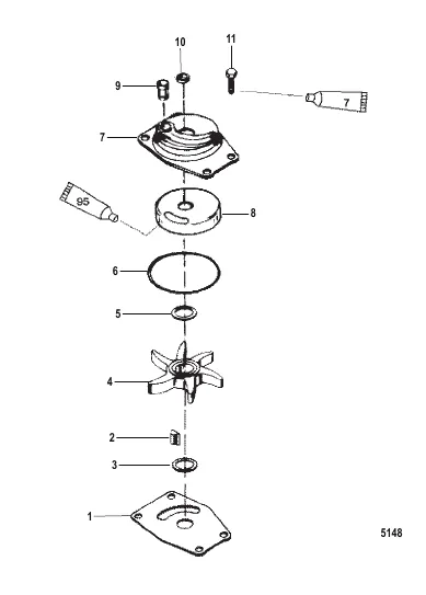
Компоненты водометного насоса [0P017000 THRU 0P325499] - Belgium - Cat.# 90-803127 25, 25 SEA PRO, SUPER 15 (2-ЦИЛ.)
№
Описание
-
К-во на
агрегате -
Стоимость
за шт.
10

Уточните дату поставки
-
К-во на агрегате
-
Стоимость за шт.233 ₽
-
Купить