150FETOX 150FETO (64C4, 2005) 180 DARK BLUISH GRAY METALLIC 2(DBNM2)
-
Обтекатель верхний
-
Цилиндр и картер двигателя 1
-
Коленчатый вал и поршень
-
Цилиндр и картер двигателя 2
-
Впускная система
-
Карбюратор
-
Масленый насос
-
Масленый бак
-
Топливная система 1
-
Топливная система 2
-
Топливная система 3
-
Генератор
-
Электрика 1
-
Электрика 2
-
Стартер электродвигателя
-
Обтекатель нижний
-
Управление
-
Кронштейн 1
-
Кронштейн 2
-
Усилитель дифферента и наклона в сборе 1
-
Усилитель дифферента и наклона в сборе 2
-
Верхний корпус
-
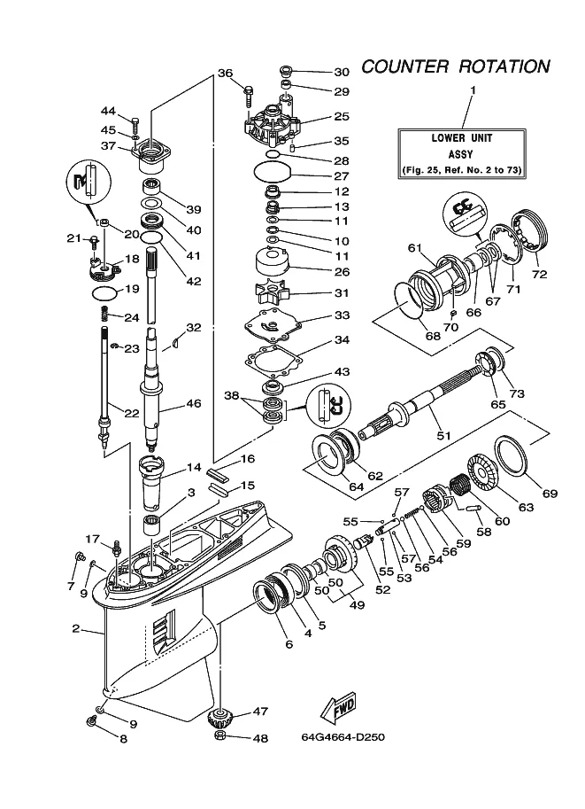
Нижний корпус и привод 1
-
Нижний корпус и привод 2
-
Нижний корпус и привод 3
-
Нижний корпус и привод 4
-
Крепление рулевой тяги 1
-
Крепление рулевой тяги 2
-
Блок дистанционного управления
-
Пульт дистанционного управления в сборе 1
-
Пульт дистанционного управления в сборе 2
-
Счетчик
-
Панель переключателей
-
Ремкомплект 1
-
Ремкомплект 2