40VEOL 40VEO (63C4, 2005) 180
-
Обтекатель верхний
-
Цилиндр и картер двигателя
-
Коленчатый вал и поршень
-
Впускная система
-
Карбюратор
-
Масленый насос 1
-
Масленый насос
-
Топливная система
-
Стартер
-
Генератор
-
Электрика 1
-
Электрика 2
-
Электрика 3
-
Стартер электродвигателя
-
Обтекатель нижний
-
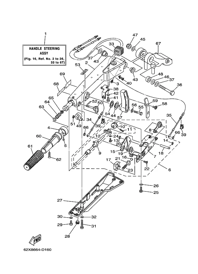
Рулевое управление
-
Управление
-
Кронштейн 1
-
Кронштейн 2
-
Кронштейн 3
-
Кронштейн 4
-
Усилитель дифферента и наклона в сборе 1
-
Усилитель дифферента и наклона в сборе 2
-
Верхний корпус
-
Нижний корпус и привод 1
-
Нижний корпус и привод 2
-
Топливный бак
-
Рулевая тяга
-
Блок дистанционного управления
-
Пульт дистанционного управления в сборе
-
Счетчик
-
Ремкомплект 1
-
Ремкомплект 2