70BEDOL (6H32, 2003) 110 DARK BLUISH GRAY METALLIC 2(DBNM2)
-
Обтекатель верхний
-
Цилиндр и картер двигателя
-
Коленчатый вал и поршень
-
Впускная система 1
-
Впускная система 2
-
Карбюратор 1
-
Карбюратор 2
-
Масленый насос
-
Топливная система 1
-
Топливная система 2
-
Генератор
-
Электрика
-
Стартер электродвигателя
-
Обтекатель нижний
-
Управление
-
Кронштейн 1
-
Кронштейн 2
-
Усилитель дифферента и наклона в сборе
-
Верхний корпус
-
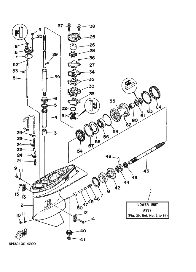
Нижний корпус и привод 1
-
Нижний корпус и привод 2
-
Нижний корпус и привод 3
-
Топливный бак
-
Рулевая тяга
-
Блок дистанционного управления
-
Пульт дистанционного управления в сборе
-
Счетчик
-
Ремкомплект 1
-
Ремкомплект 2
-
Ремкомплект 3