FT9.9A (6G8, 1999) 070 DARK BLUISH GRAY METALLIC 2(DBNM2)
-
Цилиндр и картер двигателя
-
Коленчатый вал и поршень
-
Клапан
-
Впускная система
-
Карбюратор
-
Масленый насос
-
Маслосборник
-
Стартер
-
Топливная система
-
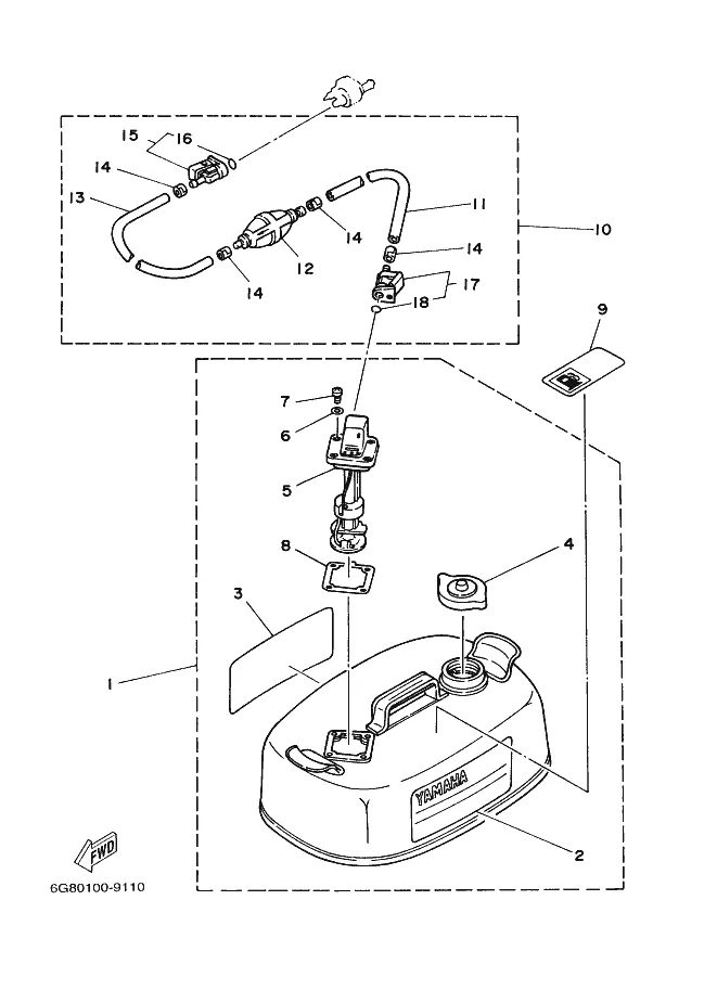
Топливный бак 1
-
Топливный бак 2
-
Обтекатель верхний
-
Обтекатель нижний
-
Кронштейн 1
-
Кронштейн 2
-
Рулевое управление
-
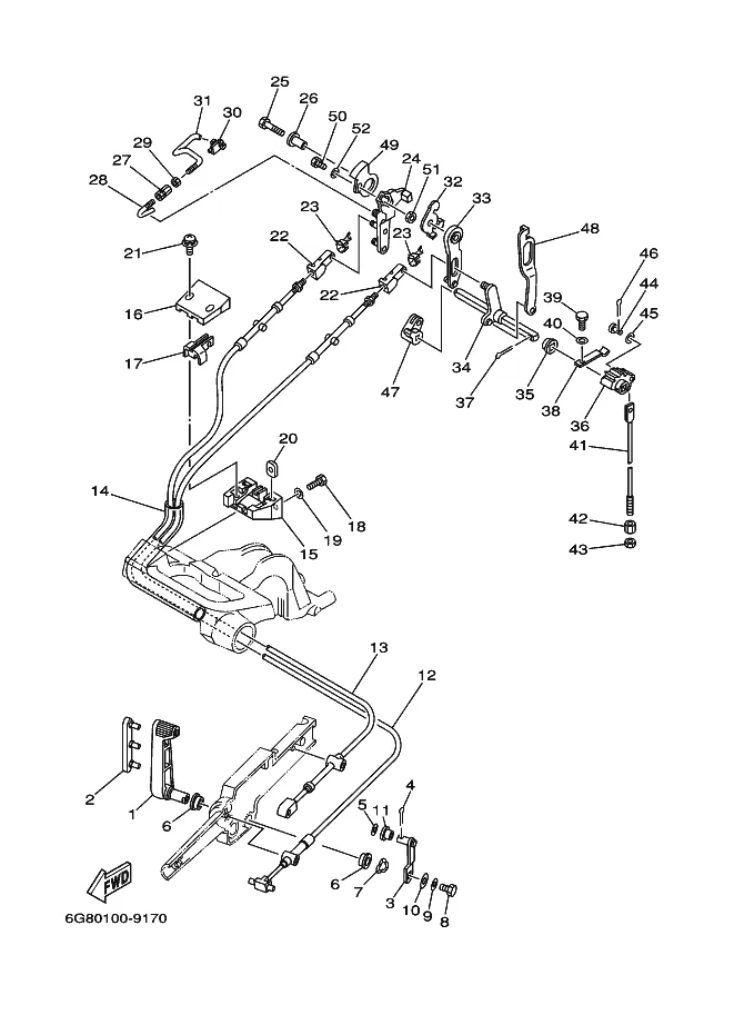
Управление
-
Ремкомплект креплений
-
Рулевая тяга
-
Блок дистанционного управления
-
Пульт дистанционного управления в сборе 1
-
Пульт дистанционного управления в сборе 2
-
Верхний корпус
-
Нижний корпус и привод 1
-
Нижний корпус и привод 2
-
Генератор
-
Стартер электродвигателя
-
Электрика 1
-
Электрика 2
-
Электрика 3
-
Дополнительные детали
-
Ремкомплект 1
-
Ремкомплект 2