ProV200 (61H, 1995) 999 DARK BLUISH GRAY METALLIC 2(DBNM2)
-
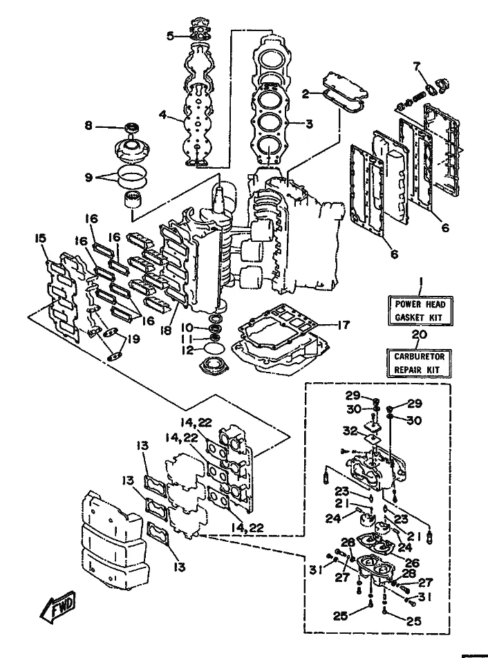
Цилиндр и картер 1
-
Цилиндр и картер 2
-
Коленчатый вал и поршень
-
Вход
-
Карбюратор
-
Масляный насос
-
Масляный бак
-
Топливная система
-
Обтекатель верхний
-
Обтекатель нижний
-
Суппорт 1
-
Суппорт 2
-
Усилитель дифферента и наклона в сборе
-
Система управления
-
Гильза
-
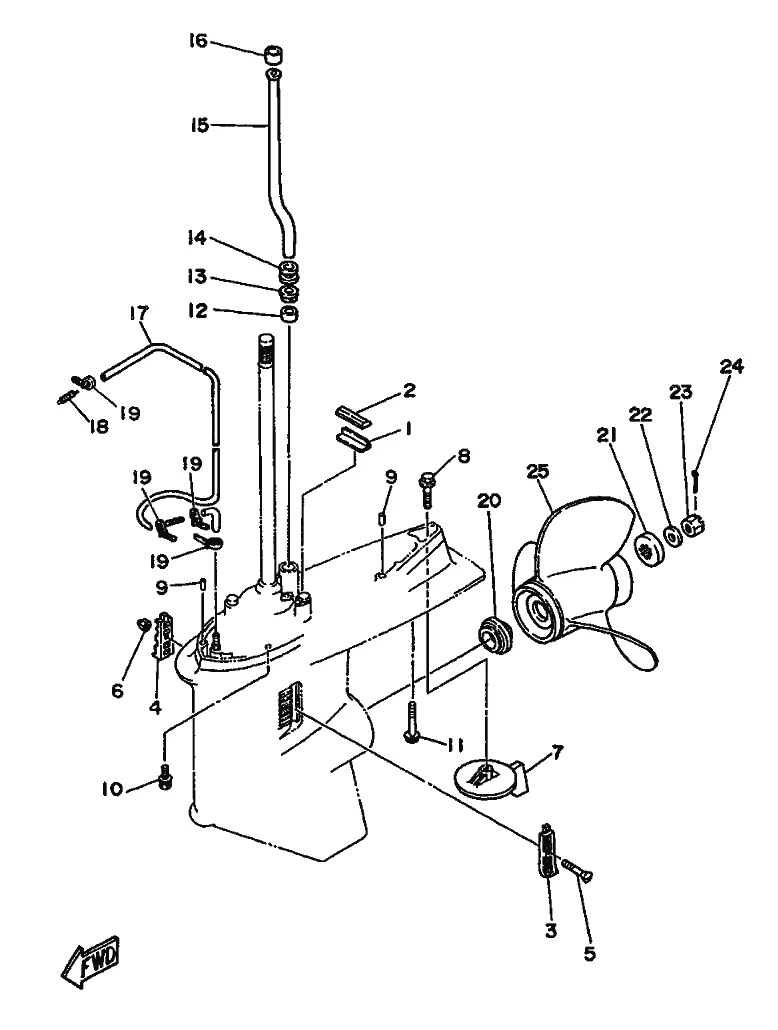
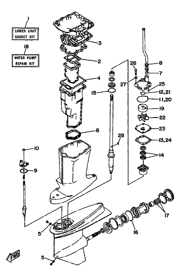
Трансмиссия гребного винта
-
Генератор
-
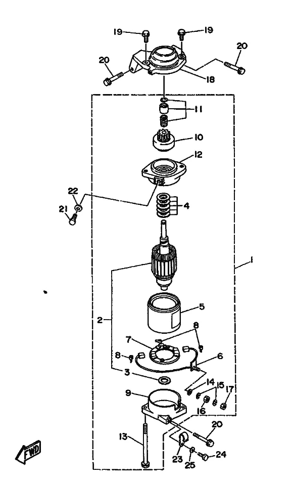
Электрический стартер
-
Электрические компоненты 1
-
Электрические компоненты 2
-
Ремкомплект 1
-
Ремкомплект 2