[0U018186 THRU 0U025101] - Cat.# 90-889464
- 
                    
                        
                             03 транец (черный) (Без устройства для быстрого закрепления) (MCK300042) 03 транец (черный) (Без устройства для быстрого закрепления) (MCK300042)
- 
                    
                        
                             09 крепление Widebite (черное) (Без устройства для быстрого закрепления) (MSK300032) 09 крепление Widebite (черное) (Без устройства для быстрого закрепления) (MSK300032)
- 
                    
                        
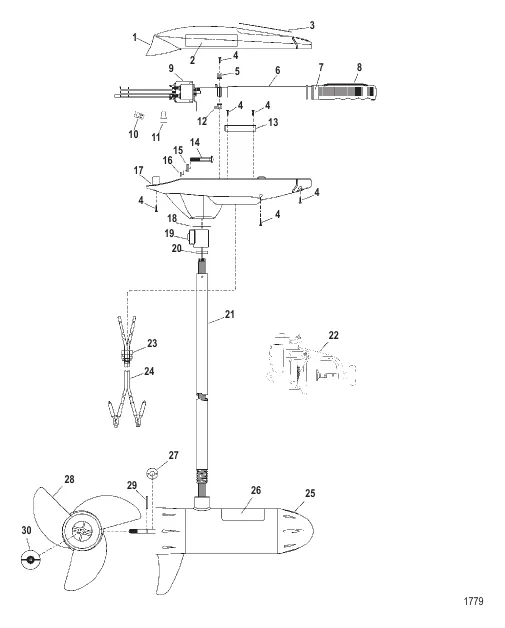
                             Двигатель для тралового лова в сборе (Модель TT2500) (12 В) Двигатель для тралового лова в сборе (Модель TT2500) (12 В)
- 
                    
                        
                             Двигатель для тралового лова в сборе (Модель TT3000) (12 В) Двигатель для тралового лова в сборе (Модель TT3000) (12 В)
- 
                    
                        
                             Двигатель для тралового лова в сборе (Модель TT3600) (12 В) Двигатель для тралового лова в сборе (Модель TT3600) (12 В)
- 
                    
                        
                             Двигатель для тралового лова в сборе (Модель TT4500) (12 В) Двигатель для тралового лова в сборе (Модель TT4500) (12 В)
- 
                    
                        
                             Двигатель для тралового лова в сборе (Модель TT4800) (12 В) Двигатель для тралового лова в сборе (Модель TT4800) (12 В)
- 
                    
                        
                             Двигатель для тралового лова в сборе (Модель TT5000) (24 В) Двигатель для тралового лова в сборе (Модель TT5000) (24 В)
- 
                    
                        
                             Материал для обслуживания Материал для обслуживания
- 
                    
                        
                             Нижний блок в сборе (30# – с регулировкой скорости до 5) (MHF397102) Нижний блок в сборе (30# – с регулировкой скорости до 5) (MHF397102)
- 
                    
                        
                             Нижний блок в сборе (30# – с регулировкой скорости до 5/2) (MHM397052) Нижний блок в сборе (30# – с регулировкой скорости до 5/2) (MHM397052)
- 
                    
                        
                             Нижний блок в сборе (30# – с регулировкой скорости до 5/2) (MHM397062) Нижний блок в сборе (30# – с регулировкой скорости до 5/2) (MHM397062)
- 
                    
                        
                             Нижний блок в сборе (30# – с регулировкой скорости до 5/2) (MHM39706T) Нижний блок в сборе (30# – с регулировкой скорости до 5/2) (MHM39706T)
- 
                    
                        
                             Нижний блок в сборе (35# – с регулировкой скорости до 5) (MSM397052) Нижний блок в сборе (35# – с регулировкой скорости до 5) (MSM397052)
- 
                    
                        
                             Нижний блок в сборе (45# – переменная) (MCM397042) Нижний блок в сборе (45# – переменная) (MCM397042)
- 
                    
                        
                             Нижний блок в сборе (45# – с регулировкой скорости до 5) (MDM397062) Нижний блок в сборе (45# – с регулировкой скорости до 5) (MDM397062)
- 
                    
                        
                             Нижний блок в сборе (50# – переменная) (MTM397032) Нижний блок в сборе (50# – переменная) (MTM397032)
- 
                    
                        
                             Нижний блок в сборе (54# – переменн./чис. об.) (MCC397012) Нижний блок в сборе (54# – переменн./чис. об.) (MCC397012)
- 
                    
                        
                             Нижний блок в сборе (82# – переменн./чис. об.) (MTC397012) Нижний блок в сборе (82# – переменн./чис. об.) (MTC397012)
- 
                    
                        
                             Ремонтный комплект – нижний блок в сборе (M6220T) Ремонтный комплект – нижний блок в сборе (M6220T)
- 
                    
                        
                             Ремонтный комплект – нижний блок в сборе (MXC6021) Ремонтный комплект – нижний блок в сборе (MXC6021)
- 
                    
                        
                             Список инструментов (Специальный) Список инструментов (Специальный)
- 
                    
                        
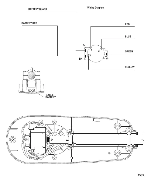
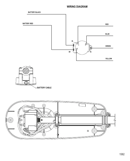
                             Схема электрических подключений (Модель TT2500) (12 В) Схема электрических подключений (Модель TT2500) (12 В)
- 
                    
                        
                             Схема электрических подключений (Модель TT3000) (12 В) Схема электрических подключений (Модель TT3000) (12 В)
- 
                    
                        
                             Схема электрических подключений (Модель TT3600) (12 В) Схема электрических подключений (Модель TT3600) (12 В)
- 
                    
                        
                             Схема электрических подключений (Модель TT4500) (12 В) Схема электрических подключений (Модель TT4500) (12 В)
- 
                    
                        
                             Схема электрических подключений (Модель TT4800) (12 В) Схема электрических подключений (Модель TT4800) (12 В)
- 
                    
                        
                             Схема электрических подключений (Модель TT5000) (24 В) Схема электрических подключений (Модель TT5000) (24 В)
- 
                    
                        
                             Электрические разъемы и клеммы Электрические разъемы и клеммы
 
             
 
                         
                         
                         
                         
                         
                         
                         
                         
                         
                         
                         
                         
                         
                         
                         
                         
                         
                         
                         
                         
                         
                         
                         
                         
                         
                         
                        