[2000 & Up]
-
Электрические разъемы и клеммы
-
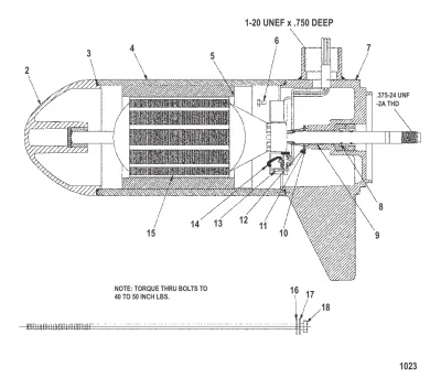
Двигатель для тралового лова в сборе (Модель 536) (12 В)
-
Двигатель для тралового лова в сборе (Модель 543) (12 В)
-
Двигатель для тралового лова в сборе (Модель 567) (24 В)
-
Двигатель для тралового лова в сборе (Модель 580V) (24 В)
-
Двигатель для тралового лова в сборе (Модель 5109V) (36 В)
-
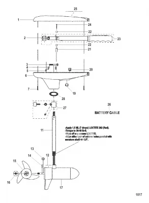
Нижний блок в сборе (43# – с регулировкой скорости до 5) (MEF397032)
-
Нижний блок в сборе (36# – с регулировкой скорости до 5/2) (MPF397012)
-
Нижний блок в сборе (82# – переменн./чис. об.) (MTF397012)
-
Нижний блок в сборе (67# – с регулировкой скорости до 5) (MVF397012)
-
Нижний блок в сборе (109# – переменная) (MXF397012)