[0E288000 THRU 0E344999] - USA - Cat.# 90-855373R2
-
Блок цилиндров в сборе
-
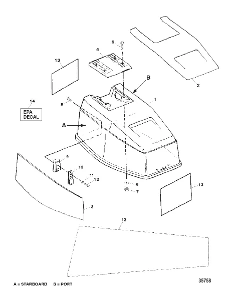
Верхний кожух в сборе
-
Зажигание и электрические компоненты
-
Инструменты Специальн. (стр. 1 из 2)
-
Инструменты Специальн. (стр. 2 из 2)
-
Карбюратор
-
Картер редуктора в сборе Вал гребного винта
-
Картер редуктора в сборе Ведущий вал
-
Коленчатый вал, поршни и шатуны
-
Комплект усилителя дифферента, газовое усиление (828533A2)
-
Корпус ведущего вала
-
Кронштейн фиксатора
-
Литература и данные о краске
-
Нижний кожух в сборе
-
Переходная пластина Верхняя часть
-
Пластина и фланцевый переходник
-
Поворотная труба
-
Система дифферента в сборе Гидравлический
-
Система рециркуляции и заливки
-
Стартер в сборе
-
Топливный насос в сборе и компоненты
-
Топливопровод в сборе
-
Тяга управления переключением передач и тяга газа
-
Установка дифферента Гидравлический
-
Шарнирный кронштейн