[65G-602581 & Up] - Cat.# 90-804504
-
Блок цилиндров и головка цилиндра
-
Впускной коллектор и обогатитель
-
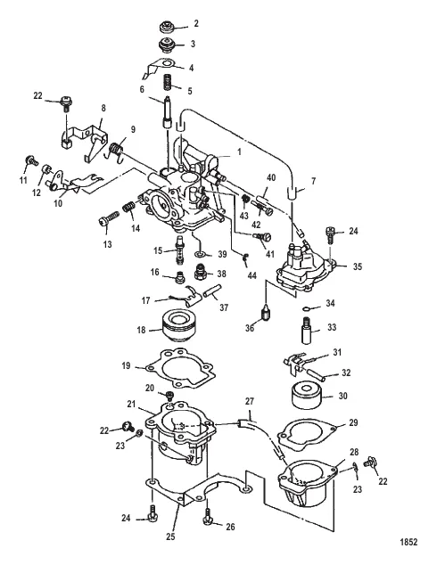
Карбюратор
-
Картер редуктора в сборе
-
Картер редуктора Гребной винт и водяная труба
-
Коленчатый вал, поршни и шатуны
-
Корпус ведущего вала
-
Кронштейн рулевого механизма
-
Обтекатель
-
Рукоятка рулевого механизма
-
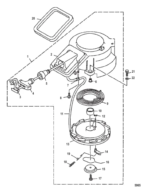
Ручной стартер
-
Топливный насос/топливопроводы
-
Тяга газа
-
Фиксатор и поворотный кронштейн
-
Электросистема